Descrizioni tecniche


Descrizione di un trasportatore a rulli
È costruito da un telaio che sostiene una serie di rulli.Il carico può essere movimentato dalla forza di gravità o da una motorizzazione. I telai possono essere costruiti rettilinei o curvi.
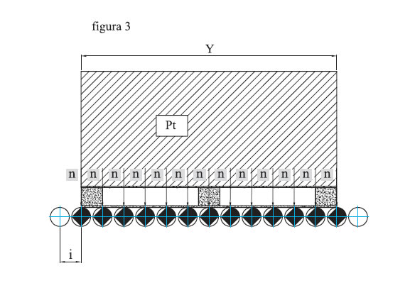
Il carico da trasportare con una superfice liscia, solida e lunga devono appoggiare almeno su 3 rulli (figura 1) l’interasse deve essere diminuito quando le superfici di appoggio lo richiedeno ( figure 2-3).
y = lunghezza del carico
i = interasse fra i rulli
n = numero dei rulli sottoposti al carico
pt = peso del carico
esempio
i = y/n
Distribuzione del carico sui rulli
pt = peso del carico
p = carico nominale gravante su un rullo (daN)
pm = massimo gravante su un rullo (daN)
n = numero dei rulli sottoposti al carico
W = coefficiente d’appoggio del carico trasportato
W = 1,5 quando il numero dei rulli sottoposti al carico
è n≥3 e il piano d’appoggio non estremamente rigido
W = 2 quando il numero dei rulli sottoposti al carico è n>3 e il piano d’appoggio è estremamente rigido la formula indica il carico massimo per determinare la scelta del rullo.

Pendenza
la determinazione della pendenza percentuale per movimentare correttamente il carico è vincolata da un coefficiente d’attrito di difficile valutazione in quanto bisogna tener conto l’attrito tra il carico e i rulli l’attrito dei cuscinetti il rapporto tra il peso dei rulli e il carico e di molteplici cause accidentali esempio sfregamenti contro guide di contenimento materiale del carico trasportato.
per carichi pesanti non possono essere trasportati per grandi distanze se non vengono impiegati delle ruote deceleranti.
per impossibilità di determinare in modo sicuro la pendenza necessaria a muovere il carico consigliamo una prova pratica e solo in via indicativa proponiamo i seguenti valori massimi.
2% per carichi in metallo
4% per carichi in legno
8% per carichi in cartone
α=angolo di inclinazione
lp=lunghezza in pianta del trasportatore
h=dislivello del trasportatore





